📣  Trova tutta la distinta base in pochi secondi. Prova il nuovo strumento distinta base di Octopart

Analog Devices MAX6663AEE+T

Temp Sensor Digital Serial (2-Wire) 16-Pin QSOP T/R
Production
Pagina del produttoreScheda dati

Prezzo e stock

Schede tecniche e documenti

Scarica le schede tecniche e la documentazione del produttore per Analog Devices MAX6663AEE+T.

Upverter

Datasheet24 pagine21 anni fa

Analog Devices

ShanghaiCT

Supply Chain

Lifecycle StatusProduction (Last Updated: 2 days ago)
Manufacturer Lifecycle StatusPRODUCTION (Last Updated: 2 days ago)

Risorse di progettazione

Visualizza i kit di valutazione e i progetti di riferimento per Analog Devices MAX6663AEE+T.

Parti correlate

Ic, motor Controller, ssop,16Pin |Onsemi ADT7475ARQZ-REEL
Serial Switch/Digital Sensor, 8 Bit(s), 2.5Cel, Rectangular, 16 Pin, Surface Mount
Analog DevicesMAX6639AEE+
2-Channel Temperature Monitor with Dual, Automatic, PWM Fan-Speed Controller

Descrizioni

Descrizioni di Analog Devices MAX6663AEE+T fornite dai suoi distributori.

Temp Sensor Digital Serial (2-Wire) 16-Pin QSOP T/R
Analog Voltage Output Sensor, 1uA, 1Cel, Rectangular, Surface Mount
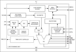
e3 ADC Multiplexer Register Bank Tachometer Tape & Reel (TR) MAX6663 thermal monitor ±2C Local(Max) ±3C Remote(Max) 3.9mm 1muA 5.5V
TEMPERATURE SENSOR,ANALOG,VOLTAGE OUTPUT; Mounting Feature: SURFACE MOUNT; Package Shape or Style: RECTANGULAR; Minimum Output Voltage: .8 V; Maximum Output Voltage: 2.6 V; Maximum Operating Current: 1 mA;

Alias del produttore

Analog Devices ha diversi marchi in tutto il mondo che i distributori possono utilizzare come nomi alternativi. Analog Devices può anche essere conosciuto con i seguenti nomi:

  • Analog Devices Inc
  • ANALOG
  • ANALOG DEVICE
  • ADI
  • ANALOG DEV
  • AD
  • ANA
  • PMI
  • Analog Devices Inc/Maxim Integrated
  • ADV
  • ADA
  • ANALOG DEVIC
  • PMI/AD
  • ANALOG DEVI
  • AD/PMI
  • STOCK
  • Analog Devices / Linear Technology
  • ANALOG INTERGRATIONS CORP
  • AD - Analog Devices
  • PRECISION MONOLITIC INC
  • ADI (Analog Devices Inc)
  • ANADEV
  • Analog Devices / Hittite
  • ANALOG DEVICES (ADI)
  • ANLOGDEVIC
  • Analog Devices Inc.
  • Maxim Analog Devices
  • Analog Devices / Maxim Integrated

Alias del numero di parte

Questa parte può essere conosciuta con i seguenti numeri di parte alternativi:

  • MAX6663AEE-T